
0769-82327388
文章來源 : 廣東優科檢測 發表時間:2019-04-24 瀏覽數量:
在UL標準中,幾乎各種電器安全標準都會要求對產品進行耐壓測試。耐壓測試( Dielectric Voltage Withstand Test )也就是俗稱的高壓測試( High Voltage Test ),通過對設備施加一個高于其額定值的電壓并維持一定時間來判定設備的絕緣材料和空間距離是否符合要求的測試。

本文詳細地敘述了UL認證耐壓測試的方法和注意事項,以幫助中國企業制造出真正符合北美市場標準的電器設備。
UL認證為什么要進行耐壓測試?
正常情況下,電力系統中的電壓波形是正弦波。電力系統在運行中由于雷擊、操作、故障或電氣設備的參數配合不當等原因,引起系統中某些部分的電壓突然升高,大大超過其額定電壓,這就是過電壓。
過電壓按其發生的原因可分為兩大類,一類是由于直接雷擊或雷電感應而引起的過電壓,稱為外部過電壓。雷電沖擊電流和沖擊電壓的幅值都很大,而且持續時間很短,破壞性極大。但由于城鎮及一般工業企業內的3-10kV 與以下的架空線路,因受廠房或高大建筑物的屏蔽保護,所以遭受直接雷擊的概率很小,比較安全。
而且這里討論的是民用電器,不在上述范圍內,就不進一步討論。另一類是因為電力系統內部的能量轉換或參數變化引起的,例如切合空載線路,切斷空載變壓器,系統內發生單相弧光接地等,稱為內部過電壓。
內部過電壓是確定電力系統中各種電氣設備正常絕緣水平的主要依據。也就是說,產品的絕緣結構的設計不但要考慮額定電壓而且要考慮產品使用環境的內部過電壓。耐壓測試就是檢測產品絕緣結構是否能夠承受電力系統的內部過電壓。
UL認證耐壓測試設備要求
對600 V以下的產品,美國和加拿大標準中通常會要求耐壓測試儀器的變壓器容量最少為500 VA,輸出電流可以達到95 mA,帶電部分到地之間的電容值不超過0.1 mF。儀器最少一年計量校正一次。形式測試之前必須進行儀器檢查,工廠測試必須定期檢查儀器, 這樣做可以避免因儀器不正常而誤判或損壞產品。
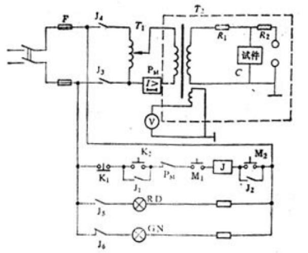
交流耐壓測試儀器一般包括高壓測試變壓器,調壓器,電壓測量系統以及控制和保護裝置等。圖1 是手動升壓試驗裝置線路圖,供參考。

圖1 手動升壓試驗裝置線路圖
UL認證耐壓測試方法
下面介紹典型的耐壓測試方法:
1. 檢查確認耐壓測試儀的主電源開關是處于“關”的位置;
2. 除非儀器的特殊設計以外,所有的不帶電金屬部分必須可靠接地;
3. 把受測設備的所有電源輸入端的電線或端子連接起來;
4. 合上受測設備的所有電源開關,繼電器等;
5. 把耐壓測試儀的測試電壓調為零;
6. 把耐壓測試儀的高電壓輸出線(通常為紅色) 連接到受測設備的電源輸入端;
7. 把耐壓測試儀的回路接地線(通常為黑色) 連接到受測設備的可觸及不帶電金屬部分;
8. 把耐壓測試儀的主電源開關閉合,緩慢升高儀器的次級電壓到要求值。一般升壓速度不超過500 V/sec 的速度;
9. 在指定的時間內維持這個測試電壓;
10. 把測試電壓緩慢降下來;
11. 把耐壓測試儀的主電源開關斷開。先斷開耐壓測試儀的高電壓輸出線,再斷開耐壓測試儀的回路接地線;
下列情況表示受測設備通不過測試:
· 當出現測試電壓不能升到指定電壓值或者電壓反而下降時;
· 耐壓測試儀出現警告信號時;
需要注意的是,由于耐壓測試中存在對人身產生危險的高電壓,進行測試時必須特別小心。
UL認證耐壓測試注意事項:
· 必須規定只有經過訓練和授權的人員才可以進入測試區域操作儀器;
· 必須在測試區域周圍安放固定的、明顯的警告標語,防止其他人員進入危險地帶;
· 當進行測試時,包括操作人員在內的所有人員必須遠離測試儀器和受測設備;
· 當測試儀器啟動時,千萬不要觸及其輸出線。

獲取報價
如果您對我司的產品或服務有任何意見或者建議,您可以通過這個渠道給予我們反饋。您的留言我們會盡快回復!

