
0769-82327388
文章來源 : 廣東優科檢測 發表時間:2021-07-29 瀏覽數量:
廣東優科檢測是獲得CNAS和CMA資質認可的第三方檢測機構,實驗室具備IEC60332-1-2標準CNAS檢測資質和檢測能力,可提供線材IEC60332-1-2燃燒測試服務,并可出具權威認可的第三方檢測報告。

電線電纜垂直燃燒涉及到電線CPR法規要求,為了滿足EN 50575的最新要求,國內的電線電纜廠家為了最快最便宜的拿到CPR法規的CE證書,大多選擇了E等級的認證。其中E等級的認證主要就是電線電纜的單根垂直燃燒。
IEC60332-1-2標準是針對在著火條件下電纜及光纜的試驗,單根電線及電纜的垂直火焰蔓延的試驗,1kw預混火焰測試方法。若電線電纜的橫截面積小于0.5mm2,測試程序應按照IEC60332-2-2小絕緣電線或電纜–擴散火焰法垂直火焰蔓延的試驗方法進行。
IEC60332-1和IEC60332-2分別用來評定單根線纜按傾斜和垂直布放時的阻燃能力。IEC60332-3用來評定成束線纜垂直燃燒時的阻燃測試。

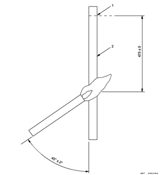
測試樣品為長度(600±25)mm的單根絕緣導體電纜。
火焰應連續施加相當于表1所示直徑的時間。

如IEC 60332-1-1的4.2節所述,試件應拉直并通過合適尺寸的銅線固定在金屬絲網中心垂直位置的兩個水平支架上,在上支撐件的底部和下支撐件的頂部之間是(550±5)mm。此外,試件應定位成使樣品的底部距離篩網的底部約為50mm。測試件的垂直軸線應布置在屏幕中央(即每邊150 mm,后面225 mm)。

1. 所有燃燒停止后,試件應擦干凈。
2. 如果在擦去時,原始表面沒有損壞,所有煙灰都將被忽略。 非金屬材料的軟化或任何變形也應被忽略。 從頂部支撐的下邊緣到上部起始的距離以及從頂部支撐的下邊緣到下部起始的炭化的距離應該被測量到最接近的毫米。
3. 用鋒利的物體(例如刀片)將電纜表面壓在電纜表面上。 當表面從彈性變為脆性(粉碎)表面時,表示剛開始炭化。
4. 對于特定類型或類別的絕緣導體或電纜的性能要求應優選在單獨的電纜標準中給出。 在沒有任何特定要求的情況下,建議將下面給出的那些作為最低可接受的水平。
5. 如果頂部支撐的下邊緣與炭化開始之間的距離大于50 mm,則單根絕緣導體或電纜應通過測試。
6. 此外,如果炭化物向下延伸到距離頂部支撐件的下邊緣大于540mm的點,則應記錄故障。
7. 如果記錄故障,應再進行兩次測試。 如果兩次測試都通過,單根絕緣導線或電纜應視為已通過測試。

1. 業務咨詢:申請人提供產品資料、圖片及測試要求給我司;
2. 工程報價:根據申請人提供的資料,工程師作出評估,并向申請方口頭報價;
3. 提供資料:申請方接受口頭報價后,測試樣品提交到我司;
4. 支付款項:收到樣品后向申請方發出書面報價,申請方根據書面報價安排付款;
5. 樣品測試:依照所適用的標準進行產品測試;
6. 出具報告:測試完成實驗室出具第三方CNAS測試報告,結案。
以上就是關于線材IEC60332-1-2燃燒測試報告哪里可以做的介紹,如果您有電線電纜產品需要做第三方阻燃測試,歡迎聯系廣東優科檢測工程師!

獲取報價
如果您對我司的產品或服務有任何意見或者建議,您可以通過這個渠道給予我們反饋。您的留言我們會盡快回復!

